Самодельная насадка для триммера культиватор: полезные советы
Узнайте, как самостоятельно изготовить насадку для триммера, которая может превратить его в полноценный культиватор. Мы предлагаем вам несколько полезных советов, которые помогут вам создать функциональную насадку, использовать ее правильно и получать отличные результаты.
					
					
					
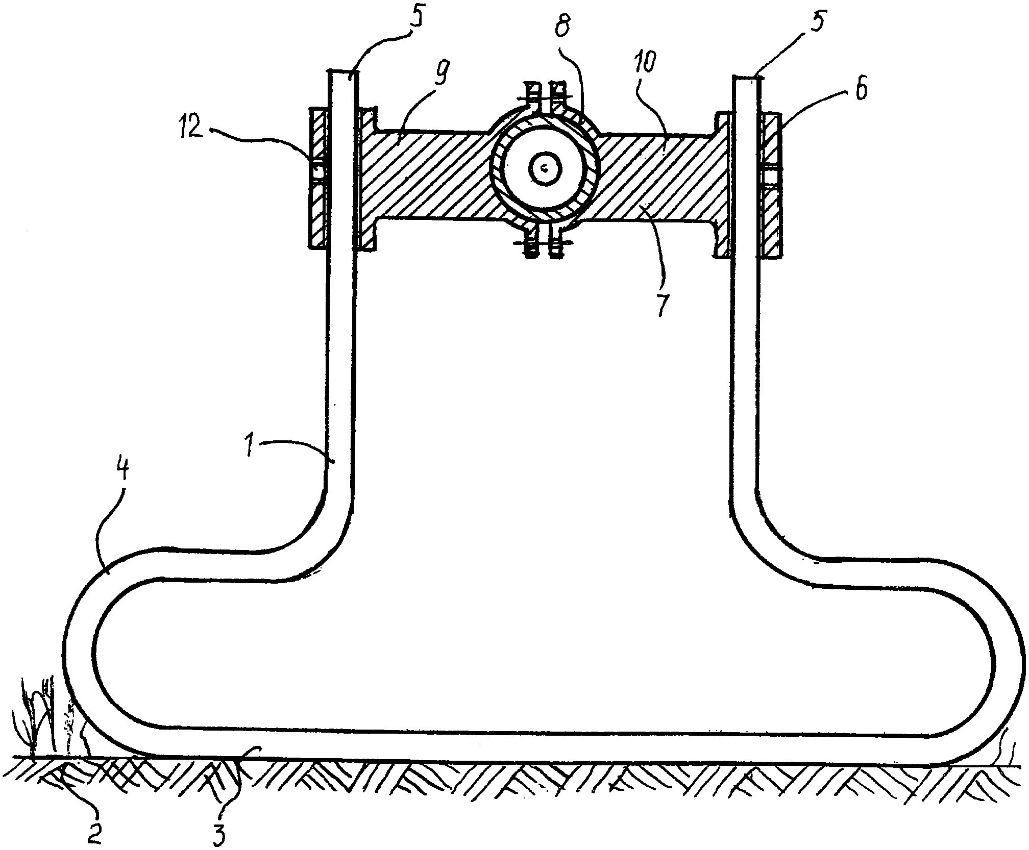
					Выберите подходящие материалы для изготовления насадки, учитывая требования к прочности и надежности.
Cultivator for brushcutter. New Project. Amazing home inventions.
					
					Планируйте свой грядочный участок заранее, чтобы насадка позволяла наилучшим образом проводить вспашку и разрыхление почвы.
💥НАСАДКА культиватор на МОТОКОСУ (бензотриммер) ОБЗОР. ИСПЫТАНИЕ. Стоит ли покупать?
					
					
					
					Сочетайте разные типы лезвий и штырей, чтобы насадка могла выполнять разные задачи, такие как окучивание, прополка и другие.
Насадка культиватор на мотокосу (бензокоса, trimmer). Доработка.
					
					
					
					Установите насадку на триммер правильно, следуя инструкциям производителя и проверяя надежность крепления перед началом работы.
Не покупай мотокультиватор насадку пока не посмотришь это видео Культиватор для мотокосы ремонт
					
					
					
					Регулярно очищайте насадку от грязи и растительных остатков, чтобы обеспечить ее эффективную работу и продлить срок службы.
Не выбрасывайте свою старую лопату и пилу. Мало кто знает об этом удивительном секрете.
					
					Используйте насадку с умом, не превышайте рекомендованную нагрузку и скорость работы, чтобы избежать поломок и травмирования.
Насадка культиватор на триммер. Наша новая покупка для участка )
Не забывайте о своей безопасности: носите специальную защитную одежду, защитные очки и перчатки при работе с насадкой для триммера культиватора.
Вечные и простые катушки и насадки на триммер косилку своими руками или за копейки
Контролируйте глубину обработки почвы, чтобы не повредить корни растений или их структуру.
Борьба с сорняками. Бензо мото сапа
Учитывайте сезон и состояние почвы, чтобы правильно подобрать скорость и интенсивность работы насадки.
„ТРИММЕР ЭТО НЕ ТОЛЬКО БЕНЗОКОСА\
					
					Не забывайте о регулярном техническом обслуживании триммера и насадки, чтобы они служили вам долго и надежно.
Снегоуборщик из триммера - Чудо-юдо аппарат