Главная » Идеи для талантливых » Сделай сам тренажер для исправления осанки: схема и рекомендации

Сделай сам тренажер для исправления осанки: схема и рекомендации


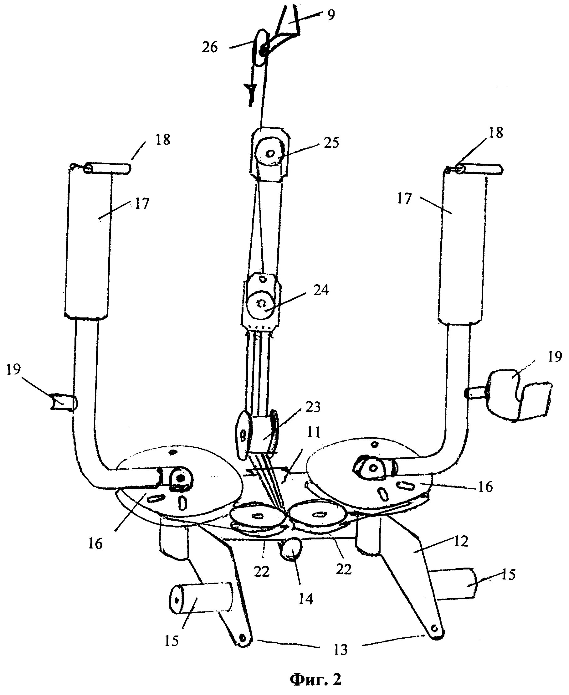
Улучшите свою осанку с помощью самодельного тренажера, который можно сделать своими руками. В этой статье представлена пошаговая схема и полезные советы по созданию тренажера для коррекции осанки.


Выберите подходящую форму и материал для изготовления тренажера. Чаще всего используют дерево или металл.

ЕДИНСТВЕННЫЕ 2 упражнения для пресса, которые Вам нужны НЕТ, СЕРЬЕЗНО! - Джефф Кавальер

Проведите измерения своего тела, чтобы определить оптимальные размеры тренажера для коррекции осанки.

Если один раз это упражнение сделаешь сутулиться не сможешь больше никогда

Закрепите на тренажере специальные петли или крючки для фиксации тела в правильной позиции.

Принцип работы инверсионного стола Teeter

Начинайте тренировки постепенно, увеличивая время использования тренажера по мере укрепления мышц спины и позвоночника.

Корсет для осанки своими руками в домашних условиях

Подбирайте упражнения, которые наиболее эффективно работают с вашей осанкой и направлены на укрепление нужных групп мышц.

Тренажер ПравИло СВОИМИ РУКАМИ!

Не забывайте об осанке в повседневной жизни: сидите, стоя и ходите с правильной осанкой.

ЛУЧШЕЕ ВИДЕО ПРО ОСАНКУ! 4 ЭФФЕКТИВНЫХ ШАГА, КАК ВЫРОВНЯТЬ ОСАНКУ НАВСЕГДА!

Регулярность и постоянство в использовании тренажера - залог успешной коррекции осанки.

Снова сидишь с кривой спиной? КАК ИСПРАВИТЬ СВОЮ ОСАНКУ

Оказывайте себе поддержку и мотивацию, чтобы добиваться видимых результатов.

РЕЗУЛЬТАТ ИСПОЛЬЗОВАНИЯ КОРСЕТА ДЛЯ ИСПРАВЛЕНИЯ ОСАНКИ

При возникновении болей или дискомфорта во время тренировок, обратитесь к специалисту для получения консультации и рекомендаций.

Бомбический корректор осанки своими руками

Не забывайте об уходе за тренажером: регулярно проверяйте его состояние и проводите профилактику.

90% делают НЕправильно!!! Подтягивайся ТОЛЬКО ТАК!