Главная » Идеи для талантливых » Как сделать турбину Шаубергера самостоятельно: пошаговая инструкция, полезные советы

Как сделать турбину Шаубергера самостоятельно: пошаговая инструкция, полезные советы


Хотите сделать турбину Шаубергера своими руками? В этой статье вы найдете все необходимые шаги, полезные советы, а также информацию о запчастях и материалах, которые понадобятся вам в процессе!


Приступайте к изготовлению турбины только после тщательного изучения теории и принципов работы устройства.

Как сделать паровой двигатель из автомобильного амортизатора

Выберите качественные материалы и запчасти для изготовления турбины, чтобы обеспечить ее эффективную работу.

Запретная тайна Тестатики. Генератор бесплатной энергии существует?

Организуйте рабочее место, где будете собирать турбину, чтобы иметь все необходимые инструменты под рукой.

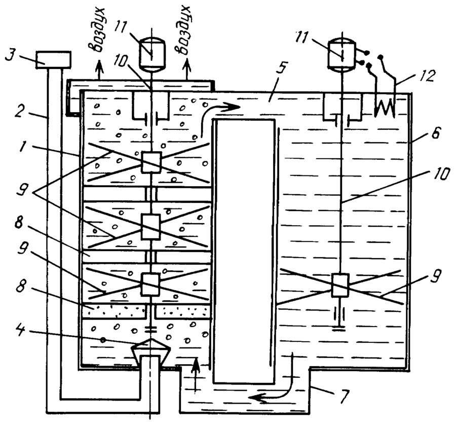
Шаубергера генератор

Следуйте пошаговой инструкции при сборке турбины, чтобы избежать ошибок и достичь желаемого результата.

🌑 Как ВИХРЕВОЙ СЛИВ ВОДЫ увеличивает её энергию? Не вечный двигатель но надежда есть Игорь Белецкий

Если у вас возникли трудности или вопросы в ходе изготовления турбины, обратитесь к опытным мастерам или проконсультируйтесь на специализированных форумах.

Вечный Двигатель Бесплатной Энергии для освещения и отопления

Проверьте работоспособность турбины после ее сборки, чтобы убедиться, что все исправно функционирует.

Раскрываю Шаубергера , Клема работы.

Регулярно обслуживайте и чистите турбину, чтобы она долго служила и обеспечивала высокую производительность.

Удивили бы и Шаубергера: сверхединичные насосы Vert Rotors

Консультируйтесь с профессионалами, чтобы получить дополнительные советы и рекомендации по улучшению работы турбины.

Второй эффект - свершилось!

Не забывайте о безопасности во время работы с турбиной: используйте защитное снаряжение и соблюдайте все предостережения по эксплуатации.

Аэросани 7 сил

Никогда не раскрывайте технические секреты или патенты, касающиеся турбины, без разрешения и правовой защиты.

Генератор Шаубергера изготовление!○Schauberger generator manufacturer!