Главная » Лайфхаки по стирке » Как правильно подключить и обслуживать стиральную машину Канди: схема и советы

Как правильно подключить и обслуживать стиральную машину Канди: схема и советы


Узнайте, как правильно подключить и обслуживать стиральную машину Канди с помощью электрической схемы и полезных советов. Это руководство поможет вам избежать ошибок и упростить процесс использования вашей стиральной машины.


Перед началом работы с электрическими схемами и подключением стиральной машины Канди, обязательно отключите ее от источника электропитания.

Как проверить подшипники в стиральной машине

При подключении стиральной машины Канди к электросети, внимательно прочитайте инструкцию производителя и следуйте ее рекомендациям.

СТРАННАЯ СТИРАЛЬНАЯ МАШИНА 🤪 Ремонт стиральной машины Candy

Если вы не уверены в своих навыках работы с электричеством, лучше обратиться к профессионалам для установки и подключения стиральной машины Канди.

ГДЕ НАЙТИ СХЕМУ НА МОДУЛЬ СТИРАЛЬНОЙ МАШИНЫ

Регулярно проверяйте состояние проводов и розеток, чтобы избежать возможных проблем с электрическим подключением стиральной машины Канди.

Ремонт стиральной машины Канди (Candy) своими руками

Не ставьте стиральную машину Канди рядом с источником воды, чтобы избежать возможных коротких замыканий и повреждений электрической схемы.

Ремонт электронного модуля стиральной машины Candy(Канди)

При обслуживании стиральной машины Канди, отключите ее от электропитания и используйте средства защиты, чтобы избежать поражения электрическим током.

Ремонт электронного модуля стиральной машины Candy, Канди

Если вам необходимо заменить какие-либо элементы электрической схемы стиральной машины Канди, используйте только оригинальные запчасти, рекомендованные производителем.

Модуль управления СМА Candy

При работе с электрической схемой стиральной машины Канди, будьте внимательны и не торопитесь, чтобы избежать ошибок и возможных повреждений.

Принцип работы стиральной машины - Алгоритм работы и диагностика машинки

Первый запуск стиральной машины Канди CANDY CS4 1072D1/2-07

Периодически проводите техническое обслуживание стиральной машины Канди согласно инструкции производителя, чтобы поддерживать ее работоспособность и безопасность.

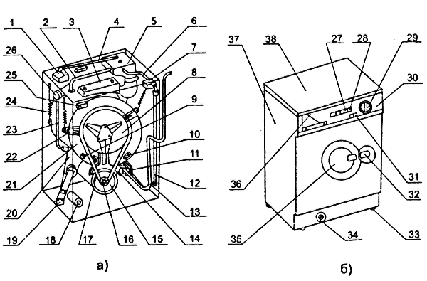
Устройство стиральной машины Candy. Из чего состоит стиральная машина.

Если у вас возникли сложности с подключением или обслуживанием стиральной машины Канди, обратитесь за помощью к квалифицированным специалистам.