Главная » Поддержка порядка » Как правильно проверить уровень воды в парогенераторе пищеварочного котла: полезные советы

Как правильно проверить уровень воды в парогенераторе пищеварочного котла: полезные советы


Узнайте, как проверить уровень воды в парогенераторе пищеварочного котла безопасно и эффективно с нашими подробными инструкциями. Следуя этим советам, вы избежите возможных поломок и будуте иметь надежный и функциональный парогенератор.


Перед началом проверки уровня воды в парогенераторе, убедитесь, что он отключен от электропитания и достаточно остыл.

🔴Запрещенные Водородные Котлы для отопления Дома. Простая fond-ustu.ruенный КПД

Используйте специальный инструмент или шаблон, предоставленный производителем, чтобы проверить уровень воды в парогенераторе.

Котельная. Очень дешево и эффективно.

Обратите внимание на максимальный и минимальный уровень воды, который указан в инструкции, и следите за тем, чтобы уровень был в пределах этих значений.

Как устроены паровые котлы. Основы управления котлом

Если уровень воды ниже минимального значения, добавьте достаточное количество чистой воды, используя воронку или другой подходящий инструмент.

В чем отличие парогенератора от парового котла?

Не добавляйте слишком много воды, чтобы избежать переполнения парогенератора и возможных поломок.

Супер котел от ТеплоВода

Периодически проверяйте уровень воды в парогенераторе во время приготовления пищи для поддержания оптимальной работы и безопасности.

Пиролизный котел мифы и реальность.

Если уровень воды в парогенераторе регулярно снижается, проверьте наличие утечек и неисправностей, и при необходимости обратитесь к производителю или сервисному центру.

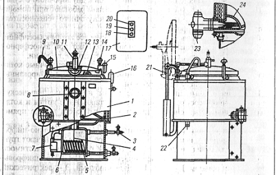
котел пищеварочный КПЭМ - 100 АБАТ, стационарный.

Не забудьте очищать и обслуживать парогенератор регулярно для эффективной и безопасной работы.

67) Диарация питательной воды парового котла для исключения корозии трубок (дипломная работа).

При проверке уровня воды в парогенераторе, обязательно выключите его и дайте ему остыть перед открытием для предотвращения возможных ожогов и травм.

Как это работает? - Парогенератор

Следуйте инструкциям производителя и обратитесь к профессионалу, если у вас возникают вопросы или проблемы с проверкой уровня воды в парогенераторе.

Принцип работы парового котла